


各技工院校、培训机构、技能鉴定评价机构,各用人单位:
当前,疫情防控形势十分复杂,防控形势尤为严峻。为贯彻落实市疫情防控指挥部《关于加强各行业领域疫情防控管理的通知》(行业疫情防控〔2022〕5号)关于应当开展以线上为主、线下为辅的培训班和开展线上平台直播课,减少面授课程,增加线上课程,减少人员聚集,降低疫情防控风险的要求,我中心现向各单位全面免费开放成都职业培训网络学校(以下简称学校,登录网址:https://px.cdhrss.chengdu.gov.cn:8443/)平台应用和课件资源,帮助各单位开展在线授课和培训。现将相关事宜通知如下。
一、免费开放各类资源

一是开放平台功能
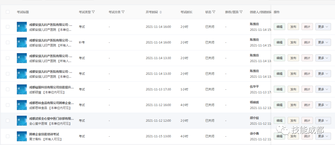
免费开放在线学习、在线练习、在线考试、在线测评、就业推荐、在线直播、电子学习档案等功能。
二是开放平台课件资源
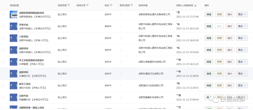
各单位可申请建立分院,根据各自培训需求自行组织、引用学校88个专业7061个课件资源和6万余道题库资源。
专业列表

三是开放企业和岗位资源
开放学校6787家企业3万余个招聘岗位资源,为各单位提供免费的就业推荐服务。
二、免费建设分院
各单位可申请成立本单位分院。分院功能包括:一是支持自行在线组班、考试。二是学员学习进度实时跟踪,学习结束自动生成学习档案。三是除免费引用网络学校课件外,可自行上传自建课件。对自有课件资源可根据分院需求,自行设定为公共课件和自用课件(公共课件将通过网络学校免费向社会开放使用;自用课件系统将会设置为保密状态,禁止除分院内部人员之外的其他单位或人员使用)。


三、免费开展在线直播授课
免费开放一对一、一对多的在线直播授课、在线直播组班教学,支持录屏回看。直播可同步播放教师的在线视频、PPT、图片和文档播放,看在线文字互动。
四、生成电子培训档案
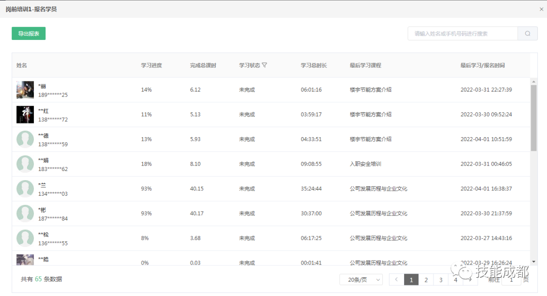
学校详细记录学员每次学习时间、学习进度等信息,实时跟踪学习进度,并将结果汇总为可导出的电子学习档案,供各单位下载存档或使用。

五、分院申请方式
将《院校(企业)培训分院管理员账号申请表》填写并盖章后交至成都市职业能力建设指导中心,报名通过后市职建中心将组织开展分院操作培训。
地址:成都市金牛区二环路北一段4号就业社保大厦5楼成都职业培训网络学校技术运维中心。
联系人:梁老师
联系电话:028-87702737
分院申请表下载
请点击左下角阅读原文

阅读原文
阅读613
文章已于2022-04-06修改
分享收藏
51


